Ferrari LaFerrari successor, Abt XGT: Car News Headlines
Ferrari is out testing prototypes for what’s thought to be the successor to the LaFerrari, and some of them have
Read MoreFerrari is out testing prototypes for what’s thought to be the successor to the LaFerrari, and some of them have
Read MoreThe 2023 Formula 1 World Championship came to a close on Sunday with the Abu Dhabi Grand Prix, held at
Read MoreThe 2024 Jeep Wagoneer and Grand Wagoneer lose their V-8 engine options—the only change to the two full-size SUVs for
Read MoreThe redesigned 2024 Porsche Panamera was revealed this week. Due in showrooms next spring, it will offer buyers more plug-in
Read MoreThe final round of the 2023 Formula 1 World Championship takes place this weekend in Abu Dhabi, but Red Bull
Read MorePorsche on Friday revealed the third generation of its Panamera nameplate. It’s due to go on sale next spring as
Read MoreWe drove the 2024 Hyundai Ioniq 5 N, Bugatti revealed the Bolide’s production interior, and the 2025 Hyundai Ioniq 7
Read MoreHyundai’s N division is only a few years old, barely out of diapers compared to venerable, in-house performance sub-brands such
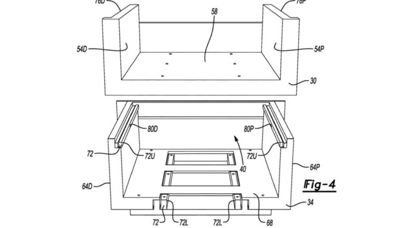
Read MoreFord has filed a patent application for a cargo bed extension system that could allow pickup trucks to carry longer
Read MoreGetting to drive Audi’s quickest electric SUV—the all-wheel-drive, tri-motor 2024 SQ8 E-Tron—on sunny, Southern California highways for a few hours
Read More