Singer DLS – Turbo, Ford Mustang GT4: Car News Headlines
Singer has returned with a wild upgrade for the 964-generation Porsche 911 that turns it into something resembling Porsche’s 934/5
Read MoreSinger has returned with a wild upgrade for the 964-generation Porsche 911 that turns it into something resembling Porsche’s 934/5
Read MoreBMW redesigned the X1 for 2023, and for its second year on the market the new generation of the compact
Read MoreNot five minutes into my drive of the 2024 Mercedes-Benz AMG S 63 E Performance, the car has decided I
Read MoreLordstown Motors Corporation has filed for bankruptcy protection and is suing contract manufacturing partner Foxconn, the company announced Tuesday. Lordstown
Read MoreVolkswagen Group held an investor presentation last week in which it provided an update on plans for a highly modular
Read MoreGMC offers off-road-ready versions of the Sierra 1500 in the form of the AT4 and AT4X, but if that isn’t
Read MoreBMW will launch a new M5 Touring next year, and it will mark only the third long-roof body style in
Read MoreToyota’s next-generation GT3 race car will make its competition debut in 2026 in the FIA World Endurance Championship (WEC), timed
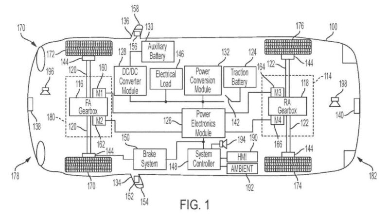
Read MoreFord is looking to patent a way to make wireless EV charging more effective. Wireless charging systems already exist, albeit
Read MoreThe 2025 Cadillac Escalade IQ debut will take place on Aug. 9 in New York City. The automaker confirmed the
Read More