Chevrolet Corvette E-Ray hybrid’s transmission patented by Tremec
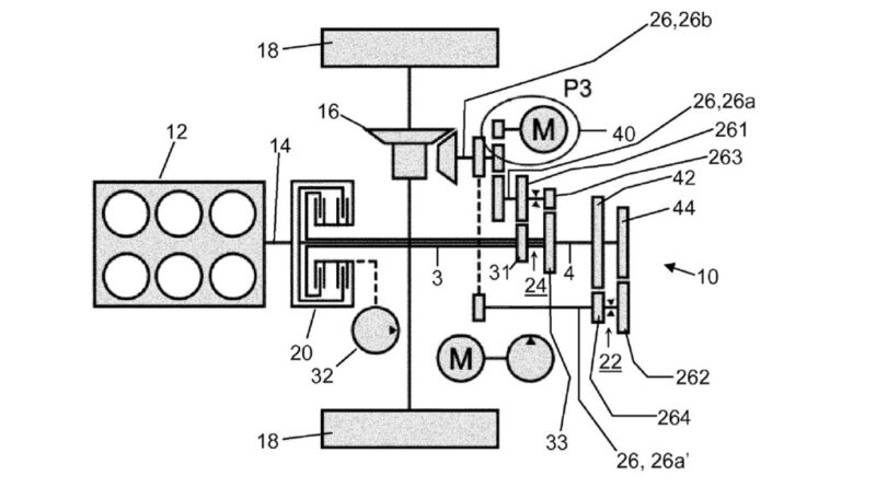
An upcoming hybrid version of the C8 Chevrolet Corvette (likely to be called E-Ray) could use a transmission from Tremec,
Read MoreAn upcoming hybrid version of the C8 Chevrolet Corvette (likely to be called E-Ray) could use a transmission from Tremec,
Read MoreAudi has updated the A8 and among the changes is a new Horch range-topper for the Chinese market. In other
Read MoreThe Porsche 911 was ranked the most dependable vehicle in J.D. Power’s annual Vehicle Dependability Study for the U.S. market
Read MorePorsche launched its first V-8 45 years ago, and since it’s Valentine’s Day, the automaker decided to celebrate with a
Read MoreNew Jersey-based tuner Specialty Vehicle Engineering (SVE) is giving its 750-hp mid-size pickup truck an encore. The truck is SVE’s
Read MoreWith the 2022 Formula One season about to get underway, reigning champion Max Verstappen recently took an F1 car for
Read MoreVolvo is adopting a process called “mega casting” for aluminum parts in order to simplify manufacturing of future electric vehicles.
Read MoreBronco reservation holders have a new version of the Ford off-roader to choose from. The Blue Oval this week revealed
Read MoreFord has filed a patent application with the United States Patent and Trademark Office (USPTO) for a manual transmission with electronic
Read MoreWe spent time in the 2022 Jeep Wrangler Rubicon 392 Xtreme Recon, Ford patented a magnetic truck bed, and Jay
Read More