News

Ford patents way to reduce turning radius on future vehicles

Some automakers have turned to all-wheel steering steering to make vehicles more maneuverable, but Ford is looking to patent an alternative solution.

A patent application filed with the United States Patent and Trademark Office (USPTO) describes a way to reduce turning radius on future vehicles by varying torque to individual wheels.

Ford turn-assist mode patent image

Ford turn-assist mode patent image

 

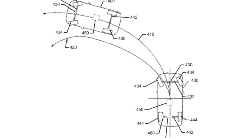
In the proposed system, an onboard controller would monitor factors like steering angle and wheel speed to determine if turning-radius reduction will be helpful. This is referred to as “turn-assist mode” in the application.

When activated, this mode reduces torque to the inside rear wheel, generating added yaw, or sideways movement. It then applies more torque to both front wheels to help balance out that yaw and pull the vehicle out of the turn. That sounds a bit like the torque-vectoring systems already used in some production cars to improve handling, but specifically aimed at decreasing turning radius.

Ford turn-assist mode patent image

Ford turn-assist mode patent image

 

The torque reduction for the inside rear wheel could be achieved via braking, so this system could be used in front-wheel drive vehicles without driven rear axles, Ford noted in the application. In all-wheel-drive applications, the rear axle could also be disconnected from the front axle in turn-assist mode, the application suggests.

As with all patent applications, it’s unclear if Ford will put torque-based turn assist into production. But this isn’t the first application for a patent of this category from the automaker; earlier this year it filed for a tank turn feature, and it has filed others describing the use of four-wheel-steering to turn the front and rear wheels in opposite directions for an off-roading crawling feature. These in turn seem to build on a four-wheel-steering patent application published in 2019.

Leave a Reply

Your email address will not be published. Required fields are marked *

This site uses Akismet to reduce spam. Learn how your comment data is processed.