BMW patents yoke steering wheel
BMW is looking to patent a steering yoke that would replace a conventional wheel with two small grips.
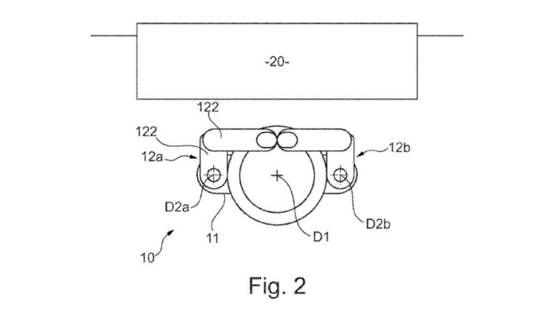
First spotted by CarBuzz, an application filed with the United States Patent and Trademark Office (USPTO) describes a “steering handle” with grips that remain vertical at all times, attached to a single horizontal spoke that rotates around a central hub. That should make its operation much like that of a conventional steering wheel, in theory.
What’s the point of a steering yoke that looks different, but works like a conventional wheel? The application text notes that “further installation space can be gained by way of a steering handle” in place of a steering wheel, so that may be the main benefit. It also looks like the grips can fold up when not in use, freeing up even more space.
BMW steering handle patent image
Such a design could be especially beneficial in future autonomous cars, where the steering wheel may not be in use much of the time. Numerous concept cars have featured fold-away steering wheels as a way to free up more space when a vehicle is in autonomous mode.
However, the exact use case BMW has in mind is unclear. As with all auto-industry patents, BMW hasn’t confirmed plans to use its steering handle in a production car, and may not have any. Automakers often patent tech without concrete plans to use it in production vehicles. Sometimes it’s just a way to prevent rivals from copying their ideas.
Tesla has already introduced a steering yoke in the Model S and Model X, a move that’s proven controversial. Unlike BMW’s design, Tesla’s yoke is essentially a conventional steering wheel with the top half removed. When Tesla started delivering yoke-equipped cars to customers in the middle of last year, negative comments about the yoke’s awkwardness quickly poured in. Perhaps reinventing the wheel wasn’t a good idea.