Learn the history of the rare 2002 Corvette Z06 Tiger Shark
The early 2000s were good times for the automotive aftermarket, with many good vehicle platforms to choose from and many
Read MoreThe early 2000s were good times for the automotive aftermarket, with many good vehicle platforms to choose from and many
Read MoreTesla revealed a major update for the Model 3 this week. There’s new styling inside and out, and potentially more
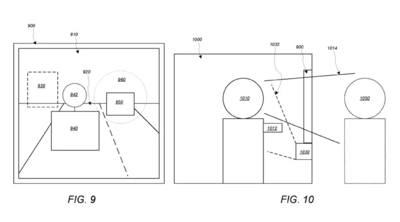
Read MoreA recent patent filing indicates Apple is potentially looking to expand beyond CarPlay with an augmented reality system that projects
Read MoreMercedes-Benz confirmed a baby G-Class, Toyota revealed a Rolls-Royce Cullinan rival, and Mini ditched the manual transmission. It’s the Week
Read MoreVigilante 4×4 is a company that restores and upgrades Jeep models sold between 1964 and 1991, with some builds ranging
Read MoreLotus took the covers off its Emeya overnight. The electric sedan has been revealed with up to 905 hp, making
Read MoreStellantis is the latest major automaker to investigate the potential of carbon-neutral fuels, often referred to as e-fuels, for keeping
Read MoreJay Leno isn’t the only famous comedian with a massive car collection. Tim Allen owns a varied collection, including a
Read MoreLotus late on Thursday took the covers off the Emeya, its first sedan since the Carlton of the early 1990s.
Read MoreVolkswagen’s ID.3 electric compact hatch sold overseas is about to spawn a new performance range topper to be called the
Read More